Запасные части ЧТЗ Запасные части ЧТЗ
Воркута
Например:
Актобе
Алдан
или
Выбрать автоматически
Актобе
Алдан
Алматы
Алчевск
Архангельск
Астана
Астрахань
Атырау
Баку
Балашиха
Барнаул
Белгород
Бердянск
Бишкек
Владивосток
Владикавказ
Воркута
Воронеж
Горловка
Грозный
Донецк
Екатеринбург
Иваново
Ижевск
Иркутск
Казань
Калининград
Каменск-Уральский
Караганда
Каховка
Кемерово
Киров
Комсомольск-на-Амуре
Костанай
Краснодар
Красноярск
Красный луч
Ленск
Луганск
Магадан
Магнитогорск
Макеевка
Махачкала
Мелитополь
Минск
Мирный (Якутия)
Москва
Мурманск
Нерюнгри
Нижневартовск
Нижний Новгород
Нижний Тагил
Новая каховка
Новокузнецк
Новосибирск
Новый Уренгой
Норильск
Ноябрьск
Нур-Султан
Омск
Оренбург
Ош
Павлодар
Пермь
Петрозаводск
Петропавловск
Петропавловск-Камчатский
Псков
Ростов-на-Дону
Салехард
Самара
Санкт-Петербург
Саратов
Севастополь
Семей
Симферополь
Сочи
Ставрополь
Сургут
Сыктывкар
Тараз
Ташкент
Токмак
Томск
Тында
Тюмень
Ульяновск
Усинск
Усть-Каменогорск
Уфа
Хабаровск
Ханты-Мансийск
Херсон
Челябинск
Чита
Шымкент
Экибастуз
Энергодар
Южно-Сахалинск
Якутск
Ваш город
Воркута
Войти
Запасные части к тракторам на одном сайте
+7 (932) 303-00-10
+7 (932) 303-00-10
г. Воркута, Деповской переулок, д. 2, пом. 4
Пн-Пт: 9:30-18:30 Cб-Вс: Выходной
Отправить заявку


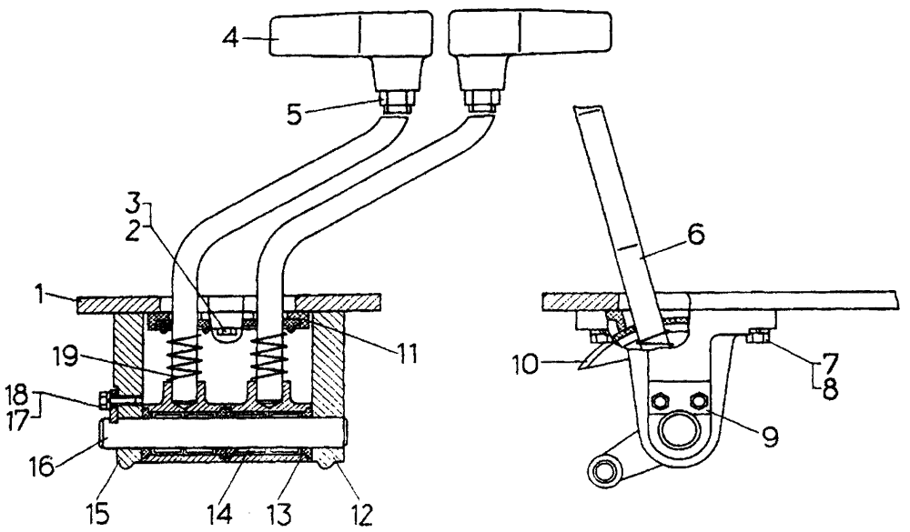
Рычаги управления трактора с гидромеханической трансмиссией на Т10М / Б10М


/
с НДС 20%
Описание
Рычаги управления поворотом трактора Т10М с гидромеханической трансмиссией
#Номер запчастиНаименование деталиКол-во в сборке
-64-13-153СПМеханизм управления поворотом1
164-13-85Плита1
2-Болт М8×16.58.0192
331386Шайба2
464-13-49Рукоятка2
5-Гайка М16×1,5-6Н.6.0191
664-13-146СПРукоятка2
7-Болт М8×25.88.35.0194
8-Шайба 8Т 65Г 094
964-13-43Пластина1
1064-13-90Уплотнитель2
1164-13-84Крышка1
1264-13-96Кронштейн1
13700-42-2503Кольцо4
14-Подшипник 942/204
1564-13-96-1Кронштейн1
1664-13-89Валик1
17-Шайба 6Т 65Г 092
18-Болт М6-6g×14.88.35.0192
1938429Пружина2
Рычаги управления трактора с гидромеханической трансмиссией