Запасные части ЧТЗ Запасные части ЧТЗ
Воркута
Например:
Актобе
Алдан
или
Выбрать автоматически
Актобе
Алдан
Алматы
Алчевск
Архангельск
Астана
Астрахань
Атырау
Баку
Балашиха
Барнаул
Белгород
Бердянск
Бишкек
Владивосток
Владикавказ
Воркута
Воронеж
Горловка
Грозный
Донецк
Екатеринбург
Иваново
Ижевск
Иркутск
Казань
Калининград
Каменск-Уральский
Караганда
Каховка
Кемерово
Киров
Комсомольск-на-Амуре
Костанай
Краснодар
Красноярск
Красный луч
Ленск
Луганск
Магадан
Магнитогорск
Макеевка
Махачкала
Мелитополь
Минск
Мирный (Якутия)
Москва
Мурманск
Нерюнгри
Нижневартовск
Нижний Новгород
Нижний Тагил
Новая каховка
Новокузнецк
Новосибирск
Новый Уренгой
Норильск
Ноябрьск
Нур-Султан
Омск
Оренбург
Ош
Павлодар
Пермь
Петрозаводск
Петропавловск
Петропавловск-Камчатский
Псков
Ростов-на-Дону
Салехард
Самара
Санкт-Петербург
Саратов
Севастополь
Семей
Симферополь
Сочи
Ставрополь
Сургут
Сыктывкар
Тараз
Ташкент
Токмак
Томск
Тында
Тюмень
Ульяновск
Усинск
Усть-Каменогорск
Уфа
Хабаровск
Ханты-Мансийск
Херсон
Челябинск
Чита
Шымкент
Экибастуз
Энергодар
Южно-Сахалинск
Якутск
Ваш город
Воркута
Войти
Запасные части к тракторам на одном сайте
+7 (932) 303-00-10
+7 (932) 303-00-10
г. Воркута, Деповской переулок, д. 2, пом. 4
Пн-Пт: 9:30-18:30 Cб-Вс: Выходной
Отправить заявку


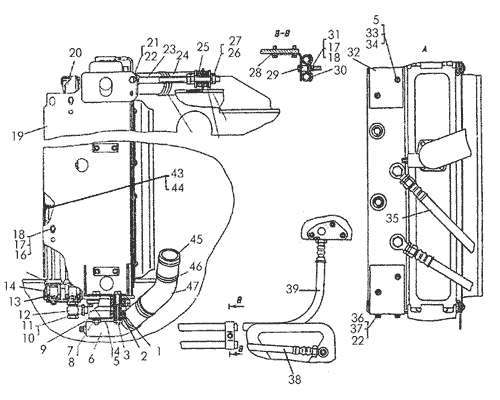
Установка радиатора на Т-170


/
с НДС 20%
Описание
Установка радиатора Т-170
Поз.НаименованиеАртикулКол-во в сборкеВходит в сборку
0Рукав 1650-26-485-09СП1-
0Рукав 1650-26-485-11СП1-
0Установка радиаторов50-309-01СП1-
0Хомут червячный фирмы «Норма»SGT70-90/94-
0Хомут червячный фирмы «Норма»SGT50-70/92-
0БолтМ12Х25.58.0194-
1Амортизатор 700-40-49234-
2Втулка24-08-1694-
3Накладка24-08-189СП2-
4БолтМ8Х30.88.35.0194-
5Шайба8Т65Г098-
6Кран 24-08-177СП1-
7Шайба 16ОТ65Г094-
8Гайка 30134-
9Накладка24-08-1682-
10Кольцо 409104-
11Болт полый700-41-33062-
12Угольник 50-56-109СП2-
13Амортизатор700-40-8119-014-
14Днище50-08-159СП1-
15Радиатор масляный 50-09-151-01СП1-
16БолтМ10Х20.58.0194-
17Шайба10ОТ65Г097-
18Шайба313065-
19Радиатор в сборе с рамой50-08-156-01СП1-
20Радиатор масляный 50-09-151СП1-
21ГайкаМ12Х6.0192-
22Шайба12ОТ65Г096-
23Раскос50-08-130СП2-
24Рукав 700-46-20411-
25Втулка24-08-1572-
26Гайка М18Х1,5-6.0196-
27Шайба18ОТ65Г092-
28Кронштейн50-09-138СП1-
29Втулка50-26-1151-
30Прижим 50-60-2301-
31ГайкаМ10Х6.0191-
32Опора50-08-1082-
33ГайкаМ8Х6.0194-
34Шайба313864-
35Фланец51-09-2511-
36Прокладка 700-40-56501-
37Шайба31354-
38Рукав 1650-26-485-08СП1-
39Рукав 1650-26-485-10СП1-
40Тарелка24-08-1544-
41Втулка 700-40-44284-
42Хомут37-26-139СП2-
43Крышка 50-08-135СП2-
44Уплотнение700-40-8118-012-
45Рукав 700-40-35032-
46Хомут или хомут червячный SGT 70-90/9 фирмы «Норма», ФРГ700-41-2222СП4-
47Патрубок 50-08-521-
Установка радиатора