Запасные части ЧТЗ Запасные части ЧТЗ
Воркута
Например:
Актобе
Алдан
или
Выбрать автоматически
Актобе
Алдан
Алматы
Алчевск
Архангельск
Астана
Астрахань
Атырау
Баку
Балашиха
Барнаул
Белгород
Бердянск
Бишкек
Владивосток
Владикавказ
Воркута
Воронеж
Горловка
Грозный
Донецк
Екатеринбург
Иваново
Ижевск
Иркутск
Казань
Калининград
Каменск-Уральский
Караганда
Каховка
Кемерово
Киров
Комсомольск-на-Амуре
Костанай
Краснодар
Красноярск
Красный луч
Ленск
Луганск
Магадан
Магнитогорск
Макеевка
Махачкала
Мелитополь
Минск
Мирный (Якутия)
Москва
Мурманск
Нерюнгри
Нижневартовск
Нижний Новгород
Нижний Тагил
Новая каховка
Новокузнецк
Новосибирск
Новый Уренгой
Норильск
Ноябрьск
Нур-Султан
Омск
Оренбург
Ош
Павлодар
Пермь
Петрозаводск
Петропавловск
Петропавловск-Камчатский
Псков
Ростов-на-Дону
Салехард
Самара
Санкт-Петербург
Саратов
Севастополь
Семей
Симферополь
Сочи
Ставрополь
Сургут
Сыктывкар
Тараз
Ташкент
Токмак
Томск
Тында
Тюмень
Ульяновск
Усинск
Усть-Каменогорск
Уфа
Хабаровск
Ханты-Мансийск
Херсон
Челябинск
Чита
Шымкент
Экибастуз
Энергодар
Южно-Сахалинск
Якутск
Ваш город
Воркута
Войти
Запасные части к тракторам на одном сайте
+7 (932) 303-00-10
+7 (932) 303-00-10
г. Воркута, Деповской переулок, д. 2, пом. 4
Пн-Пт: 9:30-18:30 Cб-Вс: Выходной
Отправить заявку


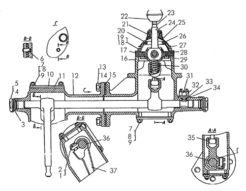
Механизм переключения передач тракторов болотоходных модификаций на Т-170


/
с НДС 20%
Описание
Механизм переключения передач тракторов болотоходных модификаций Т-170
Поз.НаименованиеАртикулКол-во в сборке
0Кольцо КО50Х70-21
0КПП 20-12-9СП1
0Механизм переключения передач 20-12-132СП1
0Проставка20-12-129СП1
0Проставка20-12-130СП1
1Пластина стопорная700-31-25422
2Болт700-28-23364
3Прокладка405884
4Пробка700-37-21542
5Шайба313682
6Штифт323491
7ГайкаМ8Х1.6.0198
8Шайба8Т65Г098
9Шпилька2М8Х1,25-3p/1-6gХ18.66.0168
10Крышка18-12-2462
11Прокладка700-40-3072-012
12Проставка задняя левая20-12-861
12Проставка задняя правая20-12-851
13Болт700-28-26214
14Шайба 16ОТ65Г094
15Прокладка700-40-32541
16Проставка передняя левая20-12-841
16Проставка передняя правая20-12-801
17Фланец шаровой133172
18БолтМ10Х30.58.0194
19Шайба10ОТ65Г094
20Крышка133191
21Крышка135911
22Рукоятка 13310СП1
23Рычаг18-12-161СП1
23Рычаг 18-12-162СП1
24Шплинт4Х321
25Колпачок466121
26Кольцо408201
27Фланец шаровой133181
28Прокладка408193
29Кольцо133601
30Пружина 383252
31ВыключательВК-418-37160001
32Прокладка21-12-507
33Кольцо014-018-25-2-51
34Пластина18-12-4111
35Хвостовик20-12-911
36Валик20-12-921
36Валик20-12-791
37Рычаг20-12-901
Механизм переключения передач тракторов болотоходных модификаций