Запасные части ЧТЗ Запасные части ЧТЗ
Воркута
Например:
Актобе
Алдан
или
Выбрать автоматически
Актобе
Алдан
Алматы
Алчевск
Архангельск
Астана
Астрахань
Атырау
Баку
Балашиха
Барнаул
Белгород
Бердянск
Бишкек
Владивосток
Владикавказ
Воркута
Воронеж
Горловка
Грозный
Донецк
Екатеринбург
Иваново
Ижевск
Иркутск
Казань
Калининград
Каменск-Уральский
Караганда
Каховка
Кемерово
Киров
Комсомольск-на-Амуре
Костанай
Краснодар
Красноярск
Красный луч
Ленск
Луганск
Магадан
Магнитогорск
Макеевка
Махачкала
Мелитополь
Минск
Мирный (Якутия)
Москва
Мурманск
Нерюнгри
Нижневартовск
Нижний Новгород
Нижний Тагил
Новая каховка
Новокузнецк
Новосибирск
Новый Уренгой
Норильск
Ноябрьск
Нур-Султан
Омск
Оренбург
Ош
Павлодар
Пермь
Петрозаводск
Петропавловск
Петропавловск-Камчатский
Псков
Ростов-на-Дону
Салехард
Самара
Санкт-Петербург
Саратов
Севастополь
Семей
Симферополь
Сочи
Ставрополь
Сургут
Сыктывкар
Тараз
Ташкент
Токмак
Томск
Тында
Тюмень
Ульяновск
Усинск
Усть-Каменогорск
Уфа
Хабаровск
Ханты-Мансийск
Херсон
Челябинск
Чита
Шымкент
Экибастуз
Энергодар
Южно-Сахалинск
Якутск
Ваш город
Воркута
Войти
Запасные части к тракторам на одном сайте
+7 (932) 303-00-10
+7 (932) 303-00-10
г. Воркута, Деповской переулок, д. 2, пом. 4
Пн-Пт: 9:30-18:30 Cб-Вс: Выходной
Отправить заявку


Бульдозерное оборудование 10Д для Б10М


/
с НДС 20%
Описание
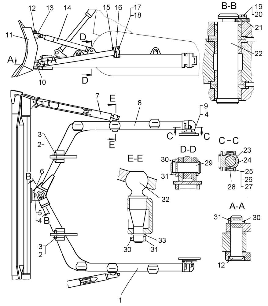
Оборудование бульдозерное 10Д 80-52-7СП
Поз. Обозначение Наименование Кол-во
80-52-7СП;
80-52-7-01СП 1
Оборудование бульдозерное 10Д 1
1 80-52-349СП Полурама 1
2 80-52-30-02 Палец 2
3 8x80.019 Шплинт 2
4 Шайба 20 ОТ 65Г 09 14
5 М20х50.88.35.019 Болт 2
6 80-52-178 Крышка 2
7 80-52-346СП Брус толкателя 2
8 80-52-348СП Полурама 1
9 Болт М20х1,5x62 12
10 80-52-142 Крестовина 2
11 80-52-166СП; 80-52-166-01СП Отвал 1
12 80-52-30-05 Палец 8
13 80-52-167СП Крестовина 2
14 80-52-175СП Раскос 2
15 Гайка 700-30-2238 4
16 80-52-136 Крышка 2
17 700-28-2491 Болт 4
18 24Т 65Г 09 Шайба 4
19 М16-8gх30.58.019 Болт 2
20 16 ОТ 65Г 09 Шайба 2
21 80-52-166 Ригель 1
22 80-52-163 Палец 1
23 Опора 80-52-118СП 2
24 Крышка 80-52-83 2
25 Гайка 30230 4
26 Болт 700-28-2518 4
27 30 65Г 09 Шайба 4
28 Прокладка 80-52-66 6
29 80-52-30-04 Палец 2
30 4x32.019 Шплинт 12
31 80-52-88 Палец 12
32 80-52-159 Палец шаровой 2
33 Шайба 700-31-2613 2
1 Для отвала с ящиком для инструмента.
Бульдозерное оборудование 10Д