Запасные части ЧТЗ Запасные части ЧТЗ
Воркута
Например:
Актобе
Алдан
или
Выбрать автоматически
Актобе
Алдан
Алматы
Алчевск
Архангельск
Астана
Астрахань
Атырау
Баку
Балашиха
Барнаул
Белгород
Бердянск
Бишкек
Владивосток
Владикавказ
Воркута
Воронеж
Горловка
Грозный
Донецк
Екатеринбург
Иваново
Ижевск
Иркутск
Казань
Калининград
Каменск-Уральский
Караганда
Каховка
Кемерово
Киров
Комсомольск-на-Амуре
Костанай
Краснодар
Красноярск
Красный луч
Ленск
Луганск
Магадан
Магнитогорск
Макеевка
Махачкала
Мелитополь
Минск
Мирный (Якутия)
Москва
Мурманск
Нерюнгри
Нижневартовск
Нижний Новгород
Нижний Тагил
Новая каховка
Новокузнецк
Новосибирск
Новый Уренгой
Норильск
Ноябрьск
Нур-Султан
Омск
Оренбург
Ош
Павлодар
Пермь
Петрозаводск
Петропавловск
Петропавловск-Камчатский
Псков
Ростов-на-Дону
Салехард
Самара
Санкт-Петербург
Саратов
Севастополь
Семей
Симферополь
Сочи
Ставрополь
Сургут
Сыктывкар
Тараз
Ташкент
Токмак
Томск
Тында
Тюмень
Ульяновск
Усинск
Усть-Каменогорск
Уфа
Хабаровск
Ханты-Мансийск
Херсон
Челябинск
Чита
Шымкент
Экибастуз
Энергодар
Южно-Сахалинск
Якутск
Ваш город
Воркута
Войти
Запасные части к тракторам на одном сайте
+7 (932) 303-00-10
+7 (932) 303-00-10
г. Воркута, Деповской переулок, д. 2, пом. 4
Пн-Пт: 9:30-18:30 Cб-Вс: Выходной
Отправить заявку


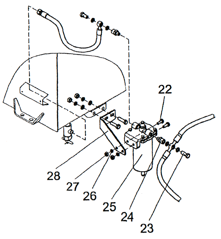
Система топливная ПК46


/
с НДС 20%
Описание
ПК46.31.00.000 Система топливная ПК46
Поз. Обозначение Наименование Кол. Масса
1 РНД 10.7.5.1200.0,13.54/54-90°.
М18×1,5/М18×1,5-У1 ТУ 3148-001-20871731-94
1 1,2
2 ПК46.31.00.009 Штуцер 1 0,05
3 Стяжка (Хомут) K-300SB 9 0,002
4 РНД 10.7,5.2200.0,13.54-90754-90°.
М18×1,5/М18×1,5-У1 ТУ 3148-001-20871731-94
1 2,0
5 ПК46.31.00.008 Штуцер 1 0,05
6 РНД 8.7,5.2200.0,064.09/103-90°.
D12,5/M14×1,5-У1 ТУ 3148-001-20871731-94
1 2,0
7 Болт M10-6g×20.58.019 (S16) ГОСТ 7798-70 7 0,02
8 Шайба 10.65Г.019 ГОСТ 6402-70 9 0,002
9 КБ11.31.00.006 Прокладка 5 0,007
10 ПК46.31.00.005 Болт 2 0,04
11 РНД 8.7,5.450.0,115.09/54.
D12,5/M12×1,25-Y1 ТУ 3148-001-20871731-94
1 0,45
12 Краник проходной 2201С28-Б ОСТ 37.001.240-81 1 0,08
13 ПК46.31.00.081 Штуцер 1 0,07
14 027.36.11.571-01 Хомут 7 0,015
15 РНД 8.7,5.2200(1100+1100).0,115.09/24.
D14,5/K1/4"-У1 ТУ 3148-001-20871731-94
1 2,0
16 РНД 8.7,5.600.0,115.09/11.
D14,5/М18×1,5-У1 ТУ 3148-001-20871731-94
1 0,8
17 Болт M10-6g×30.58.019 (S16) ГОСТ 7798-70 2 0,054
18 Фильтр грубой очистки топлива А23.20-000-02 1 2,5
19 ПК46.31.00.007 Прокладка 4 0,006
20 См.табл.
21 Гайка М10-6Н.5.019 (S16) ГОСТ 5915-70 2 0,018
Общий вес, кг 18,3

Рис. 4.1. Система топливная ПК-46

ПК46.31.00.000
20 Шайба С.10.02.019 ГОСТ 11371-78 2 0,003
ПК46.31.00.000-01
20 Шайба С.10.02.019 ГОСТ 11371-78 4 0,003
22 Болт M8-6g×35.58.019 (S13) ГОСТ 7798-70 2 0,019
23 ПК46.31.00.084 Болт 2 0,05
24 ПК46.31.00.082 Штуцер 2 0,07
25 Фильтр грубой очистки топлива 204А-1105510-Б 1 2,0
26 Шайба 8.65Г.019 ГОСТ 6402-70 2 0,001
27 Гайка М8-6Н.5.019 (S13) ГОСТ 5915-70 2 0,005
28 ПК46.31.00.083 Кронштейн 1 0,46
Система топливная