Запасные части ЧТЗ Запасные части ЧТЗ
Воркута
Например:
Актобе
Алдан
или
Выбрать автоматически
Актобе
Алдан
Алматы
Алчевск
Архангельск
Астана
Астрахань
Атырау
Баку
Балашиха
Барнаул
Белгород
Бердянск
Бишкек
Владивосток
Владикавказ
Воркута
Воронеж
Горловка
Грозный
Донецк
Екатеринбург
Иваново
Ижевск
Иркутск
Казань
Калининград
Каменск-Уральский
Караганда
Каховка
Кемерово
Киров
Комсомольск-на-Амуре
Костанай
Краснодар
Красноярск
Красный луч
Ленск
Луганск
Магадан
Магнитогорск
Макеевка
Махачкала
Мелитополь
Минск
Мирный (Якутия)
Москва
Мурманск
Нерюнгри
Нижневартовск
Нижний Новгород
Нижний Тагил
Новая каховка
Новокузнецк
Новосибирск
Новый Уренгой
Норильск
Ноябрьск
Нур-Султан
Омск
Оренбург
Ош
Павлодар
Пермь
Петрозаводск
Петропавловск
Петропавловск-Камчатский
Псков
Ростов-на-Дону
Салехард
Самара
Санкт-Петербург
Саратов
Севастополь
Семей
Симферополь
Сочи
Ставрополь
Сургут
Сыктывкар
Тараз
Ташкент
Токмак
Томск
Тында
Тюмень
Ульяновск
Усинск
Усть-Каменогорск
Уфа
Хабаровск
Ханты-Мансийск
Херсон
Челябинск
Чита
Шымкент
Экибастуз
Энергодар
Южно-Сахалинск
Якутск
Ваш город
Воркута
Войти
Запасные части к тракторам на одном сайте
+7 (932) 303-00-10
+7 (932) 303-00-10
г. Воркута, Деповской переулок, д. 2, пом. 4
Пн-Пт: 9:30-18:30 Cб-Вс: Выходной
Отправить заявку


Ремонт гидроцилиндра Т-170 Б-170 трактора в Воркуте


/
с НДС 20%
Описание

Снятие гидроцилиндра Т-170

Отверните накидные гайки рукавов высокого давления от труб гидроцилиндра. Закройте отверстия в цилиндре и рукавах для предотвращения попадания пыли.

Схема строповки гидроцилиндра

Рис. 320. Схема строповки гидроцилиндра

Прикрепите цилиндр к подъемнику ( рис. 320 ). Масса гидроцилиндра 82 кг. Отверните три гайки крепления крышек и снимите пружинные шайбы.

Гидроцилиндр

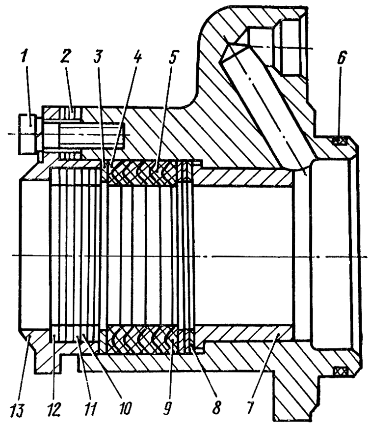
Рис. 321. Гидроцилиндр

Снимите переднюю крышку 28 ( рис. 321 ) и выньте из отверстий крышек и цилиндра болты 15. Снимите цилиндр с цапфы, поддерживая два сухаря 26 и две шпонки 14, чтобы они не упали.

Разборка гидроцилиндра Т-170

Отверните два болта 23 крепления бугеля к корпусу цилиндра, снимите бугель 29 и прокладку 24. Отверните накидную гайку трубы 6 и снимите трубу. Отверните болты.22 крепления крышки и выньте шток 3 с поршнем 9 из корпуса цилиндра вместе с крышкой 4 и деталями уплотнения. Сверните накидную гайку 13 и гайку 12 крепления поршня на штоке. Снимите со штока поршень 9. с деталями уплотнения.

Поршень гидроцилиндра

Рис. 322. Поршень гидроцилиндра

Снимите с поршня 1 ( рис. 322 ) манжеты 3 и защитные кольца 2. Снимите со штока 3 ( см. рис. 321 ) резиновое кольцо 19. Отверткой снимите пружинное кольцо 8 из канавки втулки 7. Выньте из отверстия втулки и штока палец 5 и снимите со штока втулку. Выньте из расточки штока последовательно: втулку 16, клапан 17, пружину 10, проставку И, второй клапан. Выньте съемником вторую втулку. Снимите резиновые кольца 20 из канавок втулок 16.

Крышка гидроцилиндра со скребком

Рис. 323. Крышка гидроцилиндра со скребком

Снимите со штока крышку 4 со скребком и деталями уплотнения. Снимите из канавки резиновое кольцо 6 ( рис. 323 ). Отверните три болта 1 крепления скребка 13 и снимите скребок с прокладками 2 и чистиками 10,и 12. Снимите со скребка прокладки 2 и чистики. Извлеките из крышки последовательно: шайбу 3, нажимное кольцо 4, четыре манжеты 5, опорное кольцо 9, вторую шайбу и два пружинных кольца 8. Выпрессуйте из крышки втулку 7.

Отверните гайки 2 ( см. рис. 321 ) болтов крепления крышек 30 штока и снимите крышки. Выньте сухари со сферой 1 из отверстия цапфы штока и снимите шпонки.

Технические требования гидроцилиндра Т-170

  1. Разукомплектовка клапана с втулкой не допускается. Конусы клапана и втулки должны быть притерты до появления кольцеобразных поясков шириной не менее 0,3 мм.

  2. Нормальный зазор между отверстием втулки клапана и ребрами клапана должен быть в пределах 0,008...0,050 мм.

  3. Нормальный внутренний диаметр цилиндра 100±0,07 мм.

  4. Нормальный наружный диаметр кольца на поршне 100±0,14 мм.

  5. На трущихся поверхностях цилиндра, поршня, штока, а также в канавках под уплотнительные кольца риски, забоины и другие дефекты не допускаются.

  6. Не допускается при сборке срез резиновых уплотнительных колец, защитных прокладок и манжет.

  7. Детали гидроцилиндра должны быть защищены от пыли и грязи при хранении и сборке.

  8. Уплотнительные кольца круглого сечения не должны иметь остаточной деформации.

Сборка гидроцилиндра Т-170

Перед сборкой все детали промойте дизельным топливом и продуйте сухим сжатым воздухом. Перед сборкой трущиеся поверхности деталей и резиновые кольца смажьте тонким слоем моторного масла.

Запрессуйте втулку 7 ( см. рис. 323 ) в отверстие крышки до упора в бурт. Биение поверхности отверстия втулки относительно цилиндрической поверхности крышки должно, быть не более 0,05 мм.

Установите два пружинных кольца 8 в отверстие крышки до упора в торец втулки. Установите шайбу 3 до упора в торец пружинного кольца. Установите опорное кольцо 9 в отверстие крышки до упора плоской стороной в торец шайбы. Установите четыре манжеты 5 и нажимное кольцо 4 в отверстие крышки до упора в опорное кольцо. Установите вторую шайбу 3 до упора в нажимное кольцо.

Установите в расточку скребка 13 двенадцать чистиков 12 толщиной 1 мм, десять чистиков 11 толщиной 0,6 мм и восемь чистиков 10 толщиной 0,2 мм. Чистики 11 толщиной 0,2 мм и 10 толщиной 0,6 мм установите через один, начиная и кончая чистиком 11 толщиной 0,6 мм. Вставьте в отверстие крышки скребок с чистиками и установите между скребком и крышкой двенадцать прокладок 2. Совместите отверстия в скребке, прокладках и крышке, вставьте в них болты 1 с пружинными шайбами и заверните их на 2...3 оборота. Наденьте в канавку крышки резиновое кольцо 6 и смажьте его моторным маслом.

Наложите на сферу 1 ( см. рис. 321 ) два сухаря 26 и, совместив шпоночные пазы цапфы штока и сухарей, вставьте сферу с сухарями в цапфу. Установите две шпонки 14. Сухари устанавливайте с одинаковыми номерами цифровых клейм. Наложите крышку 30 и, совмещая отверстия крышки и цапфы, вставьте три болта с пружинными шайбами. Наденьте на болты вторую крышку и закрепите ее болтами с гайками 2 и пружинными шайбами. Наденьте на резьбовой конец штока 3 конусную оправку. Напрессуйте на шток собранную крышку 4 скребком к цапфе. Снимите конусную оправку. Наденьте на шток втулку 7. Совместите отверстия штока и втулки, вставьте в отверстие палец 5. Установите в канавку втулки пружинное кольцо 8. Наденьте на поршень 1 ( см. рис. 322 ) защитные кольца 2 до упора в торец. Установите на поршень две манжеты 3 до упора в защитные кольца. Наденьте на шток упор 18 ( см. рис. 321 ). Установите в канавку штока уплотнительное кольцо 19. Наденьте на шток поршень 9 с манжетами и установите второй упор 18. Закрепите поршень' на штоке гайкой 12. Момент затяжки гайки 1200...1500 Н-м (120...150 кгс-м).

Установите в канавку втулки 16 клапана уплотнительное кольцо 20 и установите втулку в отверстие штока до упора в торец. Вставьте в отверстие втулки клапан 17: Установите в отверстие штока проставку 11 до упора во втулку и пружину 10 на хвостовик клапана. Установите второй клапан хвостовиком в отверстие пружины. Наденьте на втулку второго клапана уплотнительное кольцо и вставьте втулку в отверстие штока. Наверните накидную гайку 13 на резьбовую поверхность штока. Разукомплектовка клапана с втулкой не допускается, так как эти детали притерты друг к другу.

Запрессуйте шток с поршнем в корпус 21 цилиндра, совместив цилиндрическую поверхность крышки с отверстием цилиндра. Поршень должен без заеданий проворачиваться и перемещаться на длине 800 мм. Совместите отверстия в корпусе с отверстиями в крышке 4 и закрепите крышку четырьмя болтами 2 с пружинными шайбами.

Наверните накидную гайку трубы 6 на ниппель корпуса. Поставьте прокладку 24 под трубу в радиусную выточку задней крышки. Наложите на трубу бугель 29 и закрепите его двумя болтами 23 с пружинными шайбами. Затяните болты 1 ( см. рис. 323 ).

Установка гидроцилиндра Т-170

Установите на цапфу гидробака крышку 25 ( см. рис. 321 ) и два сухаря 26. Соедините гидроцилиндр с подъемником ( см. рис. 320 )и подведите к трактору. Наденьте цилиндр на сухари и совместите шпоночные пазы в цилиндре и сухарях. Вставьте две шпонки 14 ( см. рис. 321 ). Установите на цилиндр крышку 28 и совместите отверстия в цилиндре и крышках. Закрепите крышки к цилиндру болтами 15 с гайками и пружинными шайбами. Вверните масленку Л7 в крышку 28. Наверните накидные гайки рукавов высокого давления на штуцеры труб гидроцилиндра. Проверьте трассу высокого давления на герметичность перемещением рукоятки распределителя не менее восьми раз в положения ПОДЪЕМ и ПРИНУДИТЕЛЬНОЕ ОПУСКАНИЕ.

Ремонт гидроцилиндра